Nut-Schaftfräser DP
Artikel
Beschreibung
Maschine / Anwendung
- CNC-Fräsmaschinen
- insbesondere zum Nuten aber auch Fügen und Trennen in rohen und beschichteten Holzwerkstoffen sowie z. B. in verleimten Furnierhölzern (Multiplex)
Ausführung
- hochsteifer VHW Grundkörper
- mit wechselseitigem Achswinkel
- mit DP-Eintauchschneide
- polierte Spanfläche
- n max = 24.000 min-1
- 1x nachschärfbar
Vorteile
- optimale Schnittqualität durch Achswinkel von oben und unten ziehend
- ruhiges Schnittverhalten durch spezielle Schneidenanordnung
- sehr lange Standwege, geringere Schnittkraftaufnahme und geringere Geräuschentwicklung durch optimierten Grundkörper
- sauberer Nutgrund
Hinweise
- Spannmittel: ps-System Hydrodehnspannfutter oder TRIBOS mit Präzisions-Reduzierhülsen Ident-No. 183032 oder 182305 oder auch mit Warmschrumpffutter Ident-No. 80362923
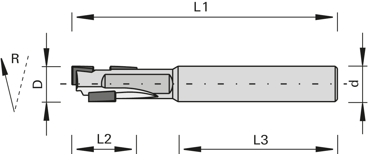
|
Ø D
[mm] |
L2
[mm] |
Ø d
[mm] |
L3
[mm] |
L1
[mm] |
Z |
nmax
[min-1] |
L/R | Ident-No. | Vergl. | Anfr. | |
|---|---|---|---|---|---|---|---|---|---|---|
|
Gesuchte Abmessungen werden nicht aufgeführt?
ab Lager lieferbar |
||||||||||
| 8 | 14 | 8,0 | 36 | 60 | 1+1 | 24’000 | R | 185734 | ||
