Fase-Messerköpfe HW - schwenkbar von 81-0-59 Grad
Artikel
Beschreibung
Maschine / Anwendung
- CNC-Fräsmaschinen
- zum Fügen, Anfasen und Abplatten in Massivhölzern und Holzwerkstoffen
Ausführung
- Schneiden achsparallel
- Fasewinkel 81-0-59 Grad
- n max = 8.000 min-1
Vorteile
Hinweise
- Berechnungsprogramm auf USB-Stick im Lieferumfang enthalten
- nur in Schaft d=25 mm lieferbar, Veränderungen am Schaft sowie MK Ausführung sind nicht möglich
- Spannmittel: Hydro-Spannfutter, Spannzangen-Futter
|
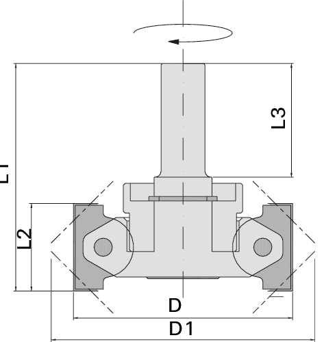
Ø D
[mm] |
Ø Dmax
[mm] |
L2
[mm] |
Ø d
[mm] |
L3
[mm] |
L1
[mm] |
Z | L/R | Ident-No. | Vergl. | Anfr. | |
|---|---|---|---|---|---|---|---|---|---|---|
|
Gesuchte Abmessungen werden nicht aufgeführt?
ab Lager lieferbar |
||||||||||
| 125 | 148 | 50 | 25 | 55 | 130 | 2 | R | 199423 | ||
