Grooving Cutterheads HW - adjustable 4-15 mm
Article
Description
Machine / Application
- table shapers
- molders
- double end tenoners
- for chip-free grooving in solid woods and in wood-based panels
Design
Advantages
Notes
- application against feed with and across the grain
- cutting width 4 - 7.5 mm two-piece
- cutting width 4 - 15 mm three-piece
- cutting width adjustable with shims in 0.1 mm increments
- single cutterheads and spacers secured against rotation with pins
|
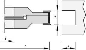
Ø D
[mm] |
B
[mm] |
Ø d
[mm] |
Z |
Tmax
[mm] |
DKN
[mm] |
nmin-nmax
[min-1] |
Ident-No. | Comp./ Inqu. | |
|---|---|---|---|---|---|---|---|---|---|
|
Dimensions entered are not listed?
available from stock |
|||||||||
| 130 | 4,0-7,5 | 30 | 4+4 | 25 | 6000-10000 | 166509 | |||
| 180 | 4,0-7,5 | 30 | 8+4 | 35 | 4500-7400 | 168081 | |||
| 180 | 4,0-7,5 | 35 | 8+4 | 35 | 10x4 | 4500-7400 | 168083 | ||
| 180 | 4,0-7,5 | 40 | 8+4 | 35 | 12x5 | 4500-7400 | 168085 | ||
| 180 | 4,0-7,5 | 50 | 8+4 | 30 | 4500-7400 | 168087 | |||
| 180 | 4,0-15 | 30 | 8+2+4 | 35 | 4500-7400 | 168080 | |||
| 180 | 4,0-15 | 35 | 8+2+4 | 35 | 10x4 | 4500-7400 | 168082 | ||
| 180 | 4,0-15 | 40 | 8+2+4 | 35 | 12x5 | 4500-7400 | 168084 | ||
