189774 - Compact-Zerspaner DP - auf Hydrobuchse 183829-Kreissägeblatt weg von der Welle (Variante 1)
Technische Daten
Beschreibung
Maschine / Anwendung
- Plattenaufteilanlagen
- Laminatfußboden
Ausführung
- offener Spanraum
- mit Achswinkel
- Nachschärfzone 4 mm
Vorteile
- Verbesserung der Spanableitung durch Achswinkel
- optimale Schneidenpositionierung von Zerspaner zur Säge
- Reduktion von Auswaschungen am Werkzeug
Hinweise
- Einsatz im Gegenlauf für Längs- und Querbearbeitung
- Drehrichtung nach VDMA 8849
| Merkmal | Wert | |
|---|---|---|
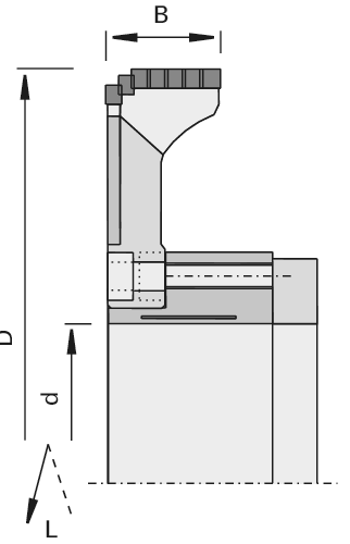
| Ø D = Flugkreisdurchmesser | 260 [mm] | |
| B = Schnittbreite | 36 [mm] | |
| Ø d = Bohrungsdurchmesser | 100 [mm] | |
| Z = Zähnezahl | 36+18+9+9 | |
| NL = Nebenlöcher | 2x4/8/130 | |
| L/R = Schneidrichtung | L | |
| L = Lieferstatus | ||
|
Gesuchte Abmessungen werden nicht aufgeführt?
ab Lager lieferbar |
||
Ersatzteile / Zubehör
| Produktbild | Beschreibung | Ausführung | Ident-No. | ||
|---|---|---|---|---|---|
| Hydro-Spannbuchsen - Vielblatt-Kreissägeblätter und Zerspaner (Paul, Homag) | Ø110x18x100 L=65,5 | 183829 | |||
|
ab Lager lieferbar |
|||||

